首 页关于我们产品列表动态信息工程案例服务&联系English
流程泵目录SCZ型标准化工流程泵SZA型石化流程泵SZE型石化流程泵
SZE型石化流程泵
SZE石化流程泵是根据API610规范设计制造的,对泵流量部件的选择进行了细化。根据工作条件,材料的选择完全由用户决定。

SZE石化流程泵适用于输送无固体颗粒的清洁或轻度污染的中性或微腐蚀性液体。

  • 技术参数
  • 其它说明

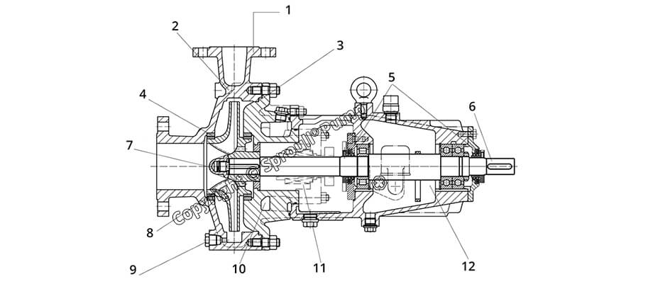
SZE型石化流程泵结构图

1 Outlet flange 4 Wear ring 7 Nut 10 Insulation cavity
2 Pump casing 5 Bearing Protector 8 Impeller 11 Sealed cavity
3 Gasket 6 Shaft 9 Discharge line 12 Bearing housing

性能曲线(示范)

型号说明
SZE50-160
SZE 石化流程泵
50 出口直径
160 叶轮名义直径

性能参数表

Type capacity
Q(m³/h)
head
H(m)
Eff
η(%)
Shaft power
pa(kw)
speed
n(r/min)
Impeller diameter(mm) Inlet diameter(mm) Outlet diameter(mm)
SZE25-200 6.9 54.9 36.4 2.84 2950 209 50 25
11.5 50 40 3.92
13.225 46.1 39.2 4.24
SZE40-160 16.8 35.1 54.7 2.94 2950 169 80 40
28 32 60 4.07
32.2 29.5 58.8 4.4
SZE50-315 26.4 30.7 48.3 4.57 1475 324 100 50
44 28 53 6.33
52.8 25 51.2 7.03
SZE80-400 51 50.5 52.8 13.29 1475 409 100 80
85 46 58 18.37
102 41 56 20.35
SZE100-250 138 84.1 69.7 45.37 2950 259 150 100
230 75 80 58.76
264.5 68.6 78 63.39
SZE200-400 252 56.1 70.6 54.57 1475 409 200 200
420 50 81 70.65
504 43.9 77.2 78.1
仅产品模型演示的一部分
如果性能参数的实际要求与性能表不匹配,可根据用户要求进行设计制造。

安装图(示范)

Type Installation Dimensions(mm)
L1 L2 L3 L4 L5 L6 L7 L8 L9 L10 L11 L12 L13
SZE50-160 165 560 140 839 230 160 20 80 180 300 600 1200 1800
A1 A2 A3 A4 A5 S1 S2 S3 S4 S5 S6 S7
80 40 15 20 20 255 255 950 260 1780 140 450
工作条件:
容量:0.5–3000m³/h
水头:4–250m
转速:14702950r/min
工作压力:2.5MPa
工作温度:-40℃~+180℃

设计特点:
1.该泵为单级、单吸、卧式悬挂离心泵(见结构图)。
2.泵吸入口为水平轴,泵排出口为垂直中心向上结构,均与泵体铸造在一起。
3.泵体为旋涡式,径向中分,底座支撑。
4.叶轮整体铸造,有后密封圈和平衡孔,以平衡泵的轴向力。残余轴向力由一对背靠背的角接触滚珠轴承组成。
5.轴封腔与泵盖整体铸造,可配填料密封和各种机械密封。轴封腔外部有一个可选的水冷套。
水冷夹套必须有特殊要求,或当输送介质的温度为水时超过66℃,当超过120℃时超过使用氯化碳时。
6.轴承箱配有一套单列径向短圆柱滚子轴承和一套(两套)背靠背推力球轴承。用油环稀油润滑。油位由油表(可视油窗)和油杯同时控制。油杯还可以自动调节油位。轴承箱的外表面铸造有散热器,散热器可以是风冷的(tに120℃),也可以用风扇或水冷却(t>120℃)。轴承箱的外端增加了悬架支脚,以稳定泵。运营起着辅助作用。
7.为了在泵维修过程中不需要拆卸吸入管路和排出管路,即可轻松拆卸叶轮、轴、轴承、轴封等部件。该系列泵使用细长柔性隔膜联轴器部件。出于安全考虑,联轴器部件还配备有联轴器组。
8.泵组配有通用底座和地脚螺栓。
9.管道系统;无论是密封冲洗管道系统还是冷却水管道系统,都由泵制造商根据输送液体的性质和温度进行组装。

上一条目
返回列表
0510-85627001
sales@wxspring.com
无锡市滨湖区高运路123号
无锡斯普流体设备有限公司
WUXI SPRING EQUIPMENT CO.,LTD.
拨打电话        给我留言