
LYD轻型潜水泵
LYD轻型液下泵是一种立式单级单吸悬臂式离心泵结构,叶轮为半开式叶轮,在叶轮吸力侧伸出带搅拌叶片,便于输送大颗粒粘稠液体。
LYD轻型潜水泵是专门用于加气混凝土工程和各种需要混合输送介质的工况,也可用于化工、制药等含有泥浆和砂泥流体以及腐蚀性液体的行业。
LYD轻型潜水泵是专门用于加气混凝土工程和各种需要混合输送介质的工况,也可用于化工、制药等含有泥浆和砂泥流体以及腐蚀性液体的行业。
LYD轻型潜水泵结构图
| 1 | Motor | 5 | Mounting plate | 9 | Main shaft | 13 | Mechanical seal | 17 | Volute casing |
|---|---|---|---|---|---|---|---|---|---|
| 2 | Motor stand | 6 | Highest starting liquid level | 10 | Connecting seat | 14 | Lowest starting liquid level | 18 | Lowest stopping liquid level |
| 3 | Coupling | 7 | Scoop pipe | 11 | Bearing at pump end | 15 | Pump cover | 19 | Suck in barrel |
| 4 | Upper bearing | 8 | Connecting stand | 12 | Bearing gland | 16 | Impeller |
性能曲线
| 型号说明 | |||
|---|---|---|---|
| 50LYD-250 | |||
| 50 | 出口直径为50mm | ||
| LYD | 立式泥浆泵 | ||
| 250 | 叶轮公称直径为250mm | ||
性能参数表
| Type |
Speed n(r/min) |
Capacity Q(m³/h) |
Head H(m) |
Eff η(%) |
Motor power (kw) |
|---|---|---|---|---|---|
| 50LYD-28 | 940 | 10.2 | 12.5 | 41 | 2.2 |
| 13.6 | 11.6 | 42 | |||
| 17 | 11 | 45 | |||
| 65LYD-28 | 1460 | 28 | 29 | 41 | 15 |
| 37 | 27 | 42 | |||
| 46 | 26 | 45 | |||
| 80LYD-38 | 980 | 33 | 22.8 | 35 | 22 |
| 43 | 21.9 | 44 | |||
| 49.6 | 21 | 48 | |||
| 80LYD-36 | 1480 | 86 | 47.1 | 47.4 | 30 |
| 151 | 42 | 60.7 | |||
| 167 | 39.9 | 62 | |||
| 100LYD-36 | 980 | 63.6 | 19.7 | 43.8 | 30 |
| 106 | 17.1 | 52 | |||
| 127 | 15.8 | 50.6 | |||
| 150LYD-40 | 730 | 125 | 11.7 | 47 | 30 |
| 208.6 | 11.1 | 62 | |||
| 250.3 | 9.2 | 57 | |||
| 200LYD-34 | 1480 | 276 | 38 | 59 | 90 |
| 460 | 35 | 69 | |||
| 552 | 33 | 64 | |||
| 仅产品模型演示的一部分 如果性能参数的实际要求与性能表不匹配,可根据用户要求进行设计制造。 |
|||||
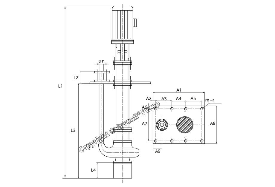
安装图(示范)
| Type | Motor | Installation Dimensions(mm) | |||||||||||||||
|---|---|---|---|---|---|---|---|---|---|---|---|---|---|---|---|---|---|
| L1 | L2 | L3 | L4 | Φn | A1 | A2 | A3 | A4 | A5 | A6 | A7 | A8 | A9 | m-Φ1 | outlet flange | ||
| power(kw) | |||||||||||||||||
| LYD150-400 | 37 | 4030 | 225 | 2500 | 500 | Φ150 | 1525 | 42.5 | 480 | 480 | 480 | 470 | 870 | 960 | 370 | 8-Φ26 | DN150(PN2.5MPa) |
工作条件:
容量:10~550 m³/h
水头:11-65 m
转速:730~1480 r/min
材料:陶瓷、HT200、QT600、304、304L、316L、317L、904L、CD4
设计特点:
• 搅拌叶片设计,满足易沉降或浓缩、粘度较大的条件。
• 采用高强度轴承,抗干扰,抗扭曲,承载能力强,运行平稳。
• 采用无轴封设计,结构合理,易于维护。
• 流动部件由全金属抗磨白口铸铁(CR27)制成,具有良好的抗磨性能。
• 轴承润滑脂润滑,根据定期注入润滑脂的技术要求,可以大大延长轴承部件的使用寿命。
容量:10~550 m³/h
水头:11-65 m
转速:730~1480 r/min
材料:陶瓷、HT200、QT600、304、304L、316L、317L、904L、CD4
设计特点:
• 搅拌叶片设计,满足易沉降或浓缩、粘度较大的条件。
• 采用高强度轴承,抗干扰,抗扭曲,承载能力强,运行平稳。
• 采用无轴封设计,结构合理,易于维护。
• 流动部件由全金属抗磨白口铸铁(CR27)制成,具有良好的抗磨性能。
• 轴承润滑脂润滑,根据定期注入润滑脂的技术要求,可以大大延长轴承部件的使用寿命。
