
WFJ型无密封自控自吸泵
WFJ无密封自控自吸泵是一种无密封自控的自吸泵,该泵具有耐温、耐压、终身自吸等多种功能,可一次性排水。自吸功能可靠。它还可以根据用户的不同要求提供矩形和锥形等多种形式,提供不同的装配方法。防爆型和户外型可用于易燃、易爆、雨天和潮湿条件下。移动式可以将泵移动到您需要的任何工作位置。
WFJ型无密封自控自吸泵在一定条件下可替代长轴泵、潜水泵、潜水排污泵等。广泛应用于石油、电力、化工、钢铁、医药、焦化、电镀、环保、消防、市政、净水、国防军工、纺织印染、矿山选矿、民用建筑等行业。它受到用户的好评。
WFJ型无密封自控自吸泵在一定条件下可替代长轴泵、潜水泵、潜水排污泵等。广泛应用于石油、电力、化工、钢铁、医药、焦化、电镀、环保、消防、市政、净水、国防军工、纺织印染、矿山选矿、民用建筑等行业。它受到用户的好评。
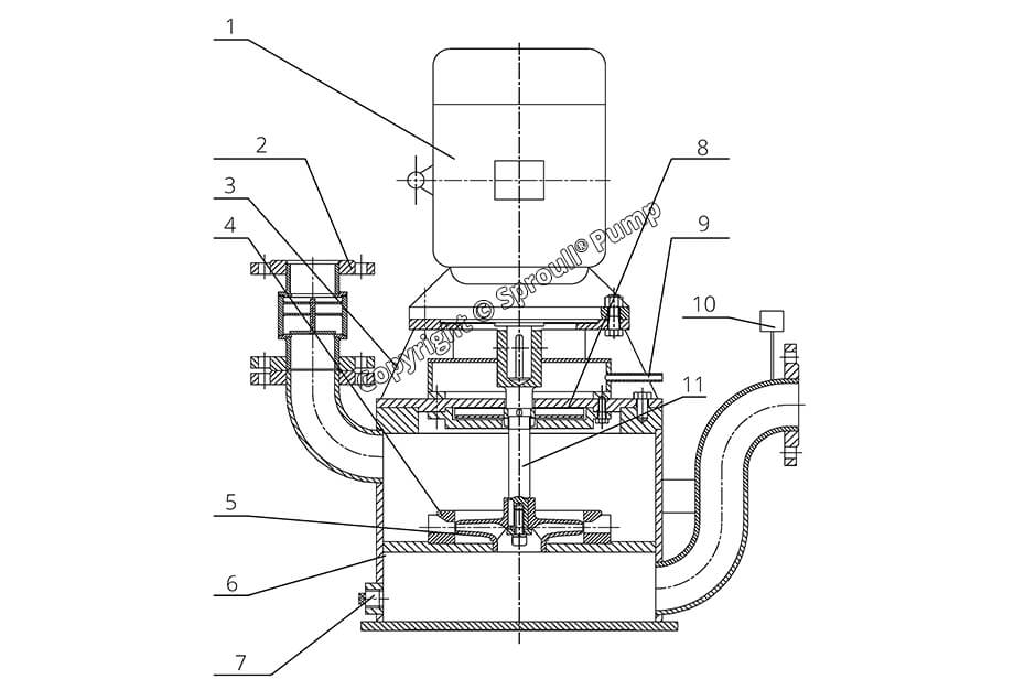
WFJ型无密封自控自吸泵结构图
| 1 | Motor | 3 | pump cover | 5 | impeller | 7 | Vent port | 9 | Overflow pipe | 11 | Shaft |
|---|---|---|---|---|---|---|---|---|---|---|---|
| 2 | Outlet Check Valve | 4 | diffuser | 6 | Pump Body | 8 | auxiliary mpeller | 10 | Solenoid valve |
性能曲线
| 型号说明 | |||
|---|---|---|---|
| 125WFJ135-50 | |||
| 125 | 入口直径(mm) | ||
| WFJ | 无密封自控自吸泵 | ||
| 135 | 额定流量为135m³/h | ||
| 50 | 1级的额定水头为50m | ||
性能参数表
| Type |
speed n(r/min) |
capacity Q(m³/h) |
head H(m) |
matched power (kw) |
self-suction height (m) |
suction diameter (mm) |
output diameter (mm) |
weight (Kg) |
|---|---|---|---|---|---|---|---|---|
| 50WFJ11.2-10 | 2960 | 6.7 | 10.9 | 1.5 | 5 | 50 | 50 | 102 |
| 11.2 | 10 | |||||||
| 13.4 | 9.3 | |||||||
| 65WFJ22.5-10 | 2960 | 13.5 | 11.3 | 2.2 | 5 | 65 | 65 | 130 |
| 22.5 | 10 | |||||||
| 27 | 9 | |||||||
| 80WFJ45-10 | 2960 | 27 | 12 | 4 | 5 | 80 | 80 | 188 |
| 45 | 10 | |||||||
| 54 | 8.2 | |||||||
| 100WFJ90-16 | 2960 | 54 | 19.2 | 11 | 5 | 100 | 100 | 284 |
| 90 | 16 | |||||||
| 108 | 13.2 | |||||||
| 125WFJ150-16 | 2960 | 90 | 18 | 18.5 | 5 | 125 | 125 | 417 |
| 150 | 16 | |||||||
| 180 | 13.5 | |||||||
| 150WFJ180-10 | 1480 | 108 | 12 | 15 | 6 | 150 | 125 | 465 |
| 180 | 10 | |||||||
| 216 | 8.2 | |||||||
| 200WFJ270-12.5 | 1480 | 162 | 15 | 22 | 6 | 200 | 150 | 850 |
| 270 | 12.5 | |||||||
| 324 | 10.3 | |||||||
| 250WFJ550-16 | 1480 | 330 | 18 | 45 | 6 | 250 | 200 | 1100 |
| 550 | 16 | |||||||
| 630 | 13.4 | |||||||
| 300WFJ720-17 | 1480 | 430 | 18.3 | 75 | 6 | 300 | 250 | 1600 |
| 720 | 17 | |||||||
| 830 | 15 | |||||||
| 350WFJ1100-28 | 1480 | 820 | 30 | 160 | 6 | 350 | 300 | 3250 |
| 1100 | 28 | |||||||
| 1300 | 23 | |||||||
| 400WFJ1600-22.5 | 980 | 1200 | 26 | 200 | 6 | 400 | 350 | 3800 |
| 1600 | 22.5 | |||||||
| 1800 | 15 | |||||||
|
仅产品模型演示的一部分 如果性能参数的实际要求与性能表不匹配,可根据用户要求进行设计制造。 |
||||||||
安装图(示范)
| Type | contour dimension(mm) | |||||||||
|---|---|---|---|---|---|---|---|---|---|---|
| DM1 | DN2 | H | H1 | H2 | L1 | L2 | E | F | n-Φ1 | |
| 50WFJ11.2-10 | 50 | 50 | 727 | 495 | 345 | 255 | 310 | 360 | ||
| 65WFJ22.5-10 | 65 | 65 | 760 | 545 | 350 | 275 | 360 | 360 | ||
| 80WFJ45-10 | 80 | 80 | 900 | 670 | 430 | 350 | 480 | 540 | ||
| 100WFJ90-16 | 100 | 100 | 1160 | 785 | 430 | 380 | 440 | 500 | ||
| 125WFJ150-16 | 125 | 125 | 1200 | 875 | 545 | 510 | 675 | 710 | 660 | 4-Φ24 |
| 150WFJ180-10 | 150 | 125 | 1254 | 855 | 548 | 515 | 600 | 710 | 660 | 4-Φ24 |
| 200WFJ270-12.5 | 200 | 150 | 1475 | 1090 | 780 | 680 | 790 | 960 | 860 | 4-Φ24 |
| 250WFJ550-16 | 250 | 200 | 1635 | 1165 | 840 | 680 | 890 | 960 | 860 | 4-Φ28 |
| 300WFJ720-17 | 300 | 250 | 2200 | 1327 | 940 | 780 | 1050 | 1100 | 1000 | 4-Φ28 |
| 350WFJ1100-28 | 350 | 300 | 2540 | 1575 | 1035 | 840 | 1190 | 1200 | 1100 | 4-Φ28 |
| 400WFJ1600-22.5 | 400 | 350 | 2940 | 1650 | 1355 | 969 | 1435 | 1600 | 1450 | 4-Φ28 |
工作条件:
水头:10-125m
转速:29601480 r/min
工作温度:≤40℃
介质温度:≤50℃
吸入直径:40-400mm
自吸高度:4-6m(常温常压下)
设计特点:
我们采用“泵用一系列多表面离心密封装置”,除传统的泵用填料密封、填料密封、机械密封外。
在操作过程中,密封装置没有摩擦和磨损。
移植真空泵原理,自吸性能稳定可靠。
振动小,噪音低,移动灵活,拆卸方便,安装方便,无需固定脚部。
水头:10-125m
转速:29601480 r/min
工作温度:≤40℃
介质温度:≤50℃
吸入直径:40-400mm
自吸高度:4-6m(常温常压下)
设计特点:
我们采用“泵用一系列多表面离心密封装置”,除传统的泵用填料密封、填料密封、机械密封外。
在操作过程中,密封装置没有摩擦和磨损。
移植真空泵原理,自吸性能稳定可靠。
振动小,噪音低,移动灵活,拆卸方便,安装方便,无需固定脚部。
